测试
仪表盘
Bug
用例
套件
测试单
测试报告
G
返回
1273
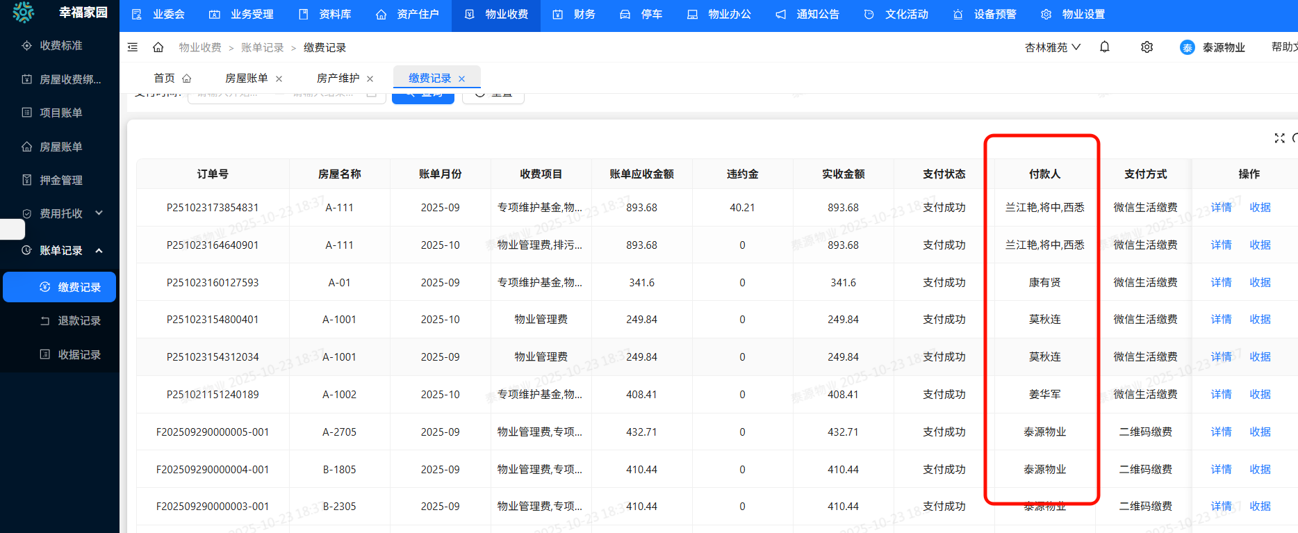
微信生活缴费:缴费记录-付款人
提Bug
重现步骤
账号
杏林
302025030408080721
WYW53sh#
[问题描述]
微信生活缴费成功后,应根据缴费人手机号码去查找房屋下面对应的付款人姓名
手机号
返回
激活
转任务
基本信息
Bug的一生
所属产品
幸福家园
所属模块
物业收费
账单记录
缴费记录
所属计划
11月07号上线计划
来源用例
Bug类型
代码错误
严重程度
优先级
2
Bug状态
已关闭
激活次数
1
激活时间
2025-10-30 11:06:44
是否确认
已确认
指派给
Closed 于 2025-10-31 17:11:03
截止日期
反馈者
通知邮箱
操作系统
浏览器
关键词
抄送给
由谁创建
lanjy 于 2025-10-23 18:43:26
影响版本
主干
由谁解决
huangmy 于 2025-10-31
解决版本
主干
解决方案
已解决
由谁关闭
lanjy 于 2025-10-31 17:11:03
最后修改
lanjy 于 2025-10-31 17:11:03
项目/研发需求/任务
其他相关
所属项目
所属执行
相关需求
相关任务
选择项目
选择项目
所属执行